Drills
Follow us on
Special Drill Geometries for Diverse Applications
Our Drills perform efficiently in even the harshest cutting environments.With excellent hardness and wear resistance.
Special Drill Geometries by GTW
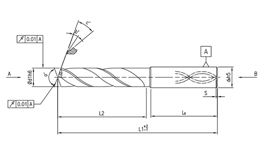
Features of S Geometry
| Self-centering geometry |
| Active chisel edge optimum chips. |
| Reinforced core and wide chip space |
| Helps reduce cutting forces |
| Convex edge distributes cutting forces more evenly |
| Produce a smoother hole finish |
| Spiral flute |
| With and without internal coolant |
| Single and double margin |
| L/D Ratio – Up to 12 |
| Diameter Range – 1mm to 20mm |
| Point Angle – 135° to 142° |
| PVD Coated – as per application |
| Cylindrical Shank – DIN 6535 HA/HB/HE |
Application Material for S Geometry
| 1.1.1 | Machining Steel |
|---|---|
| 1.1.2 | |
| 1.2.1 | Construction Steel |
| 1.2.2 | |
| 2.1.1 | Cementation Steel |
| 2.1.2 | |
| 2.1.3 | |
| 2.2.1 | Nitriding Steel |
| 2.2.2 | |
| 2.3.1 | Tempered Steel |
| 2.3.2 | |
| 2.3.3 | |
| 2.3.4 | |
| 2.3.5 | |
| 3.1.1 | Unalloyed Tool Steel |
| 3.2.1 | Tool Steel For Cold Working |
| 3.2.2 | |
| 3.2.3 | |
| 3.3.1 | Tool Steel For Hot Working |
| 3.3.2 | |
| 3.3.3 | |
| 3.3.4 | |
| 3.3.5 | |
| 5.1.1 | Conventional Cast Steel |
| 5.1.2 | |
| 5.1.3 | |
| 6.1.1 | Lamellar Graphite Cast Iron |
| 6.1.2 | |
| 6.1.3 | |
| 6.1.4 | |
| 6.2.1 | Spheroidal Cast Iron |
| 6.2.2 | |
| 6.2.3 | |
| 6.3.1 | White Malleable Cast Iron |
| 6.3.2 | |
| 6.4.1 | Black Malleable Cast Iron |
| 6.4.2 | |
Features of B Geometry
| 2 straight cutting edges |
| Ex-cellent inherent centring |
| Drill and ream in single tool |
| Burnishing pad |
| Right hand cut |
| With and without internal coolant holes |
| Single and double margin |
| L/D Ratio – Up to 12 |
| Diameter Range – 3mm to 20mm |
| Point Angle –118°-142° |
| PVD Coated – As per application |
| High flute polish – tool can be used without coating too |
| Cylindrical Shank – DIN 6535 HA/HB/HE |
Application Material for B Geometry
| 6.1.1 | Lamellar Graphite Cast Iron |
|---|---|
| 6.1.2 | |
| 6.2.1 | Spheroidal Cast Iron |
| 6.2.2 | |
| 6.3.1 | Spheroidal Cast Iron |
| 6.3.2 | |
| 6.4.1 | Black Malleable Cast Iron |
| 6.4.2 | |
| 7.1.4 | Aluminium |
| 7.1.5 | |
| 7.1.6 | |
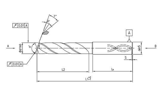
Features of WF Geometry
| Self-centering geometry. |
| Reduced cutting forces. |
| Spiral flute. |
| With and without internal coolant. |
| Single and double margin. |
| L/D Ratio – Up to 6 |
| Diameter Range – 3mm to 25mm |
| Point Angle – 135° to 142° |
| PVD Coated – as per application |
| Cylindrical Shank – DIN 6535 HA/HB/HE |
Application Material for WF Geometry
| 1.1.1 | Maching Steels |
|---|---|
| 1.1.2 | |
| 1.2.1 | Constructional Steel |
| 1.2.2 | |
| 1.2.3 | |
| 2.1.1 | Cementation Steel |
| 2.1.2 | |
| 2.1.3 | |
| 2.2.1 | Nitriding Steel |
| 2.2.2 | |
| 2.3.1 | Tempered Steel |
| 2.3.2 | |
| 2.3.3 | |
| 2.3.4 | |
| 4.1.1 | Stainless Steel |
| 4.1.2 | |
| 4.1.3 | |
| 4.1.4 | |
| 4.1.5 | |
| 5.1.1 | Conventional Cast Steel |
| 5.1.2 | |
| 5.1.3 | |
| 5.2.1 | Stainless Cast Steel |
| 5.2.2 | |
| 6.1.1 | Lamellar Graphite Cast Iron |
| 6.1.2 | |
| 6.1.3 | |
| 6.1.4 | |
| 6.2.1 | Spherodial Cast Iron |
| 6.2.2 | |
| 6.2.3 | |
| 6.3.1 | White Malleable Cast Iron |
| 6.3.2 | |
| 6.4.1 | Black Malleable Cast Iron |
| 6.4.2 | |
| 7.8.1 | Titanium |
| 7.8.2 | |
| 7.8.3 |
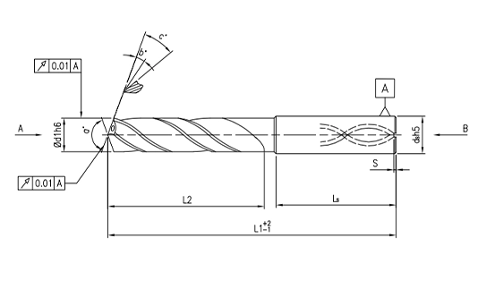
Features of F Geometry
| Self-centering geometry |
| Reduced cutting forces |
| Straight main cutting edge |
| Spiral flute |
| With and without internal coolant |
| Single and double margin |
| L/D Ratio - Up to 8 |
| Diameter Range - 3mm to 25mm |
| Point Angle - 135° to 142° |
| PVD Coated - as per application |
| Cylindrical Shank - DIN 6535 HA/HB/HE |
Application Material for F Geometry
| 4.1.1 | Stainless Steel |
|---|---|
| 4.1.2 | |
| 4.1.3 | |
| 4.1.4 | |
| 4.1.5 | |
| 5.2.1 | Stainless Cast Steel |
| 5.2.2 | |
| 6.1.4 | Lamellar Graphite Cast Iron |
Features of M Geometry
| High cutting parameters |
| Reduced cutting forces |
| Prevent excessive rubbing and friction |
| Spiral flute |
| With and without internal coolant |
| Single and double margin |
| L/D Ratio - Up to 8 |
| Diameter Range - 3mm to 25mm |
| Point Angle - 135° to 142° |
| PVD Coated - as per application |
| Cylindrical Shank - DIN 6535 HA/HB/HE |
Application Material for M Geometry
| 1.1.1 | Maching Steels |
|---|---|
| 1.1.2 | |
| 1.2.1 | Constructional Steel |
| 1.2.2 | |
| 1.2.3 | |
| 2.1.1 | Cementation Steel |
| 2.1.2 | |
| 2.1.3 | |
| 2.2.1 | Nitriding Steel |
| 2.2.2 | |
| 2.3.1 | Tempered Steel |
| 2.3.2 | |
| 2.3.3 | |
| 2.3.4 | |
| 2.3.5 | |
| 2.3.6 | |
| 3.2.1 | Unalloyed Tool Steel |
| 3.2.1 | Tools Steel for cold working |
| 3.2.2 | |
| 3.2.3 | |
| 3.2.4 | |
| 3.2.5 | |
| 3.3.1 | Tools Steel for Hot workin |
| 3.3.2 | |
| 3.3.3 | |
| 3.3.4 | |
| 3.3.5 | |
| 4.1.1 | Stainless Steel |
| 4.1.2 | |
| 4.1.3 | |
| 4.1.4 | |
| 4.1.5 | |
| 4.2.1 | Heat Resistant Alloys |
| 4.2.2 | |
| 4.2.3 | |
| 4.2.4 | |
| 5.1.1 | Conventional Cast Steel |
| 5.1.2 | |
| 5.1.3 | |
| 5.2.1 | Stainless Cast Steel |
| 5.2.2 | |
| 7.7.1 | Nickel |
| 7.7.2 | |
| 7.8.1 | Titanium |
| 7.8.2 | |
| 7.8.3 |
Features of J Geometry
| Spiral flute |
| Excellent inherent centring |
| Reduced cutting forces |
| High wear resistance |
| Performance at high temperatures |
| Efficient chip removal |
| Right hand cut |
| With and without internal coolant holes |
| Single and double margin |
| L/D Ratio – Up to 5 |
| Diameter Range – 3mm to 20mm |
| Point Angle – 135°-142° |
| PVD Coated – As per application |
| Cylindrical Shank – DIN 6535 HA/HB/HE |
Application Material for J Geometry
| 1.1.1 | Machining Steel |
|---|---|
| 1.1.2 | |
| 1.2.1 | Construction Steel |
| 1.2.2 | |
| 1.2.3 | |
| 1.3.1 | Spring Steel |
| 1.3.2 | |
| 1.3.3 | |
| 2.1.1 | Hardened Steel |
| 2.1.2 | |
| 2.1.3 | |
| 2.2.1 | Nitriding Steel |
| 2.2.2 | |
| 2.3.1 | Tempered Steel |
| 2.3.2 | |
| 2.3.3 | |
| 2.3.4 | |
| 2.3.5 | |
| 2.3.6 | |
| 3.1.1 | Unalloyed Tool Steel |
| 3.2.1 | Tool Steel For Cold Working |
| 3.2.2 | |
| 3.2.3 | |
| 3.2.4 | |
| 3.2.5 | |
| 3.3.1 | Tool Steel For Hot Working |
| 3.3.2 | |
| 3.3.3 | |
| 3.3.4 | |
| 3.3.5 | |
| 4.1.1 | Stainless Steel |
| 4.1.2 | |
| 4.1.3 | |
| 4.1.4 | |
| 4.1.5 | |
| 5.1.1 | Conventional Cast Steel |
| 5.1.2 | |
| 5.1.3 | |
| 5.2.1 | Stainless Cast Steel |
| 5.2.2 | |
| 6.1.1 | Lamellar Graphite Cast Iron |
| 6.1.2 | |
| 6.1.3 | |
| 6.1.4 | |
| 6.2.1 | Spheroidal Cast Iron |
| 6.2.2 | |
| 6.2.3 | |
| 6.3.1 | White Malleable Cast Iron |
| 6.3.2 | |
| 6.4.1 | Black Malleable Cast Iron |
| 6.4.2 |
Features of N Geometry
| Spiral flute |
| Inherent centring |
| Right hand cut |
| With and without internal coolant holes |
| Single and double margin |
| Improved hole quality and dimensional accuracy |
| L/D Ratio – Up to 12 |
| Diameter Range – 1mm to 16mm |
| Point Angle – 118°-142° |
| PVD Coated/un-coated – As per application |
| Cylindrical Shank – DIN 6535 HA/HB/HE |
Application Material for N Geometry
| 7.1.1 | Aluminium |
|---|---|
| 7.1.2 | |
| 7.1.3 | |
| 7.1.4 | |
| 7.1.5 | |
| 7.1.6 | |
| 7.2.1 | Magnesium |
| 7.2.2 | |
| 7.3.1 | Copper |
| 7.3.2 | |
| 7.3.3 | |
| 7.3.4 | |
| 7.3.5 | |
| 7.3.6 | |
| 7.4.1 | CnZn (Brass) |
| 7.4.2 | |
| 7.5.1 | CuSn (Bronze) |
| 7.5.2 | |
| 7.7.1 | Nickel |
| 7.7.2 | |
| 7.8.1 | Titanium |
| 7.8.2 | |
| 7.8.3 | |
| 8.1.1 | Thermoplast |
| 8.2.1 | Duroplast |
Features of X Geometry
| 30° Spiral flute |
| Excellent inherent centring |
| Reduced cutting forces |
| Right hand cut |
| Excellent for Deep-hole drilling operations |
| Excellent wear resistance |
| With and without internal coolant holes |
| Double margin |
| L/D Ratio – Up to 30 |
| Diameter Range – 3mm to 12mm |
| Point Angle – 135° |
| PVD Coated – As per application |
| Cylindrical Shank – DIN 6535 HA/HB/HE |
Application Material for X Geometry
| 1.1.1 | Machining Steel |
|---|---|
| 1.1.2 | |
| 1.2.1 | Construction Steel |
| 1.2.2 | |
| 1.2.3 | |
| 2.1.1 | Cementation Steel |
| 2.1.2 | |
| 2.1.3 | |
| 2.2.1 | Nitriding Steel |
| 2.2.2 | |
| 2.3.1 | Tempered Steel |
| 2.3.2 | |
| 2.3.3 | |
| 2.3.4 | |
| 2.3.5 | |
| 3.1.1 | Unalloyed Tool Steel |
| 3.2.1 | Tool Steel For Cold Working |
| 3.2.2 | |
| 3.3.1 | Tool Steel For Hot Working |
| 4.1.1 | Stainless Steel |
| 4.1.2 | |
| 4.1.3 | |
| 4.1.4 | |
| 4.1.5 | |
| 5.1.1 | Conventional Cast Steel |
| 5.1.2 | |
| 5.1.3 | |
| 5.2.1 | Stainless Cast Steel |
| 5.2.2 | |
| 6.1.1 | Lamellar Graphite Cast Iron |
| 6.1.2 | |
| 6.1.3 | |
| 6.1.4 | |
| 6.2.1 | Spheroidal Cast Iron |
| 6.2.2 | |
| 6.2.3 | |
| 6.3.1 | White Malleable Cast Iron |
| 6.3.2 | |
| 6.4.1 | Black Malleable Cast Iron |
| 6.4.2 |
Features of L Geometry
| 15° Spiral flute |
| Reduced cutting forces |
| Right hand cut |
| Optimize chip removal |
| Improves cycle times and efficiency |
| High-quality, accurate holes even at greater depths |
| Excellent wear resistance |
| With and without internal coolant holes |
| Double margin |
| L/D Ratio – Up to 30 |
| Diameter Range – 2mm to 12mm |
| Point Angle – 135° |
| PVD Coated – As per application |
| Cylindrical Shank – DIN 6535 HA/HB/HE |
Application Material for L Geometry
| 7.1.1 | Aluminium |
|---|---|
| 7.1.2 | |
| 7.1.3 | |
| 7.1.4 | |
| 7.1.5 | |
| 7.1.6 | |
| 7.3.1 | Copper |
| 7.3.2 | |
| 7.3.3 | |
| 7.3.4 | |
| 7.3.5 | |
| 7.3.6 | |
| 7.4.1 | CnZn (Brass) |
| 7.4.2 | |
| 7.5.1 | CuSn (Bronze) |
| 7.5.2 |
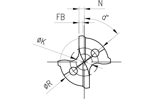
Key Advantages of GTW's Special Drill Geometries
01
Customizable Designs:
Each drill geometry is tweaked to match the specific application requirements and machining conditions, ensuring maximum efficiency and tool performance.
02
Optimized Cutting Speeds and Feed Rates:
Focuses on achieving higher feed rates and optimized cutting speeds to enhance productivity while maintaining tool life and workpiece quality.
03
Industry-Specific Solutions:
From the precision required in aerospace and electronics to the robustness needed in mining and automotive, GTW's drill geometries offer versatile solutions across a wide range of industries.